全国2009年10月高等教育自学考试非线性电子电路
编辑整理: 贵州自考网 发表时间: 2018-05-24 【大 中 小】 点击数:
全国2009年10月高等教育自学考试非线性电子电路试题
课程代码:02342
一、单项选择题(本大题共10小题,每小题2分,共20分)
在每小题列出的四个备选项中只有一个是符合题目要求的,请将其代码填写在题后的括号内.错选、多选或未选均无分.
1.反馈型正弦波振荡器,振幅稳定的条件是( )
A.
B.![]()
C.
D.![]()
2.高频谐振功率放大器放大调幅信号时,其工作状态应选择( )
A.临界
B.欠压
C.过压
D.弱过压
3.超外差接收机的中频频率是465kHz,有人在收听1480kHz电台的广播时,还能听到740kHz的强电台播音,此现象属于何种干扰( )
A.干扰哨声
B.中频干扰
C.镜像干扰
D.其他组合副波道干扰
4.石英晶体振荡器的最大特点是( )
A.工作频率高
B.频率稳定度高
C.输出幅度稳定性高
D.转换效率高
5.当需要产生频率稳定性较高,且振荡频率在较宽的范围调节的高频振荡时,以下振荡器应选用( )
A.RC振荡器
B.克拉泼振荡器
C.西勒振荡器
D.一般电容反馈振荡器
6.设载波信号为uc(t)=Uccosωct,需要传输的信号为uΩ(t)=UΩcosΩt,则已调信号uo(t)=Uccos(ωct+mcosΩt)是( )
A.AM波
B.FM波
C.DSB波
D.PM波
7.某混频器输入信号是调制频率F=lkHz、载频fc=620kHz的AM波,混频器本振频率为fL=1085kHz,取下混频,则混频输出信号的带宽为( )
A.2kHz
B.465kHz
C.620kHz
D.1705kHz
8.自动增益控制电路中,比较的参量是 ( )
A.增益
B.频率
C.相位
D.信号电平
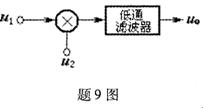
9.题9图所示框图中,输入信号为u1(t)=UlcosΩtcosωct,u2(t)=U2cosωct,可以判定输出信号是
A.调幅信号
B.调制信号
C.调频信号
D.调相信号
10.锁相频率合成器是利用锁相环的( )
A.环路锁定后没有剩余频差
B.跟踪特性
C.滤波特性
D.易于集成化
二、多项选择题(本大题共5小题.每小题2分,共10分)
在每小题列出的四个备选项中至少有两个是符合题目要求的,请将其代码填写在题后的括号内.错选、多选、少选或未选均无分.
11.对高频小信号放大器的主要要求有( )
A.增益高
B.频带宽
C.选频特性好
D.稳定性好
12.SSB波的解调可以用( )
A.二极管峰值包络检波器
B.乘积型同步检波器
C.叠加型同步检波器
D.平均值包络检波器
13.模拟相乘器可以完成的功能有( )
A.调幅
B.检波
C.混频
D.鉴频
14.场效应管的噪声主要有( )
A.沟道电阻产生的热噪声
B.闪烁噪声
C.分配噪声
D.沟道热噪声通过沟道和栅极电容的耦合作用在栅极上的感应噪声
15.直接调频法与间接调频法相比,其优点是( )
A.频率稳定性高
B.可以得到较大的频偏
C.调制灵敏度高
D.电路简单
三、填空题(本大题共5小题,每小题2分,共10分)
请在每小题的空格中填上正确答案.错填、不填均无分.
16.混频器中干扰哨声产生的原因是:_____.
17.自动频率控制电路稳频不及使用锁相环稳频,是因为_____.
18.正交鉴频器由移相网络、_____和_____三部分组成.
19.变容二极管调频器中,当变容二极管作为回路总电容时,若电容变化指数
≠2,将会产生_____和_____.
20.锁相频率合成器的频率分辨率取决于_____.
四、简答题(本大题共3小题,每小题4分,共12分)
21.欲实现频谱的线性搬移,是采用线性电路还是非线性电路?为什么?
22.二极管峰值包络检波器中,RC时间常数是否越大越好?为什么?
23.某高频功放工作于临界状态,若负载电阻RL的值突然减小,功率放大器工作状态将如何变化?输出功率会有什么变化?管子是否有危险?
五、计算题(本大题共5小题,共30分)
24.(本题6分)题24图所示电路,已知谐振频率f0=465kHz,Q0=100,回路电感L=600
H,线圈匝数比N1/N=1/4,N2/N=1/16,Rs=16k
,RL=1k
,求
(I)电容C的值;
(2)回路有载Q和频带宽度B.
25.(本题5分)某已调信号的数学表达式为:
2cos4×106πt+0.3cos3996×103πt+0.3cos4004×103πt(V)
(1)试问该已调信号是什么已调信号?
(2)求该已调信号的频带宽度B;
(3)求该已调信号在单位电阻上消耗的平均功率.
26.(本题8分)
已知载波uc(t)=5cos(100π×106t)(V),调制信号uΩ(t)=1.5cos(4π×l03t)(V)
(1)若进行调频,调制灵敏度kf=8kHz/V,求调频波的最大频偏△fm和频带宽度Bs;
(2)若进行调相,调相灵敏度为kp=6rad/V,求调相波的最大频偏△fm和频带宽度Bs;
(3)若调制信号的振幅不变,调制信号的频率提高一倍,再求调频波和调相波的频带宽度Bs.
27.(本题5分)锁相鉴频器的框图如题27图所示,若输入调频信号的中心工作频率fc为10MHz,最大频偏△fm为10kHz,调制频率的变化范围为(300~4000)Hz.试问
(1)锁相环VCO自由振荡频率应为多少?其振荡频率变化范围是多少?
(2)环路滤波器LF的上截止频率应为多少?
28.(本题6分)某鉴频器鉴频特性曲线如题28图所示,输入调频信号uFM(t)=2cos(ωct+4sin2π×103t)(V).
[1]
本文标签:贵州自考 历年真题 全国2009年10月高等教育自学考试非线性电子电路
转载请注明:文章转载自(http://www.crzkw.cn/)
⊙小编提示:添加【贵州自考网】招生老师微信,即可了解2025年贵州自考政策资讯、自考报名入口、准考证打印入口、成绩查询时间以及领取历年真题资料、个人专属备考方案等相关信息!

(添加“贵州自考网”招生老师微信,在线咨询报名报考等相关问题)

贵州自考网声明:
1、由于各方面情况的调整与变化,本网提供的考试信息仅供参考,考试信息以省考试院及院校官方发布的信息为准。
2、本网信息来源为其他媒体的稿件转载,免费转载出于非商业性学习目的,版权归原作者所有,如有内容与版权问题等请与本站联系。
贵州自考便捷服务
- 微信交流群
- 微信公众号
微信扫一扫加入考生微信群
①学习交流、②考试提醒、③自考解答
④自考资料、⑤新闻通知、⑥备考指导

贵州自考网微信公众号
随时获取贵州省自考政策、通知、公告
以及各类学习微信公众号
- 热点文章
- 常见问题
